Apple Watch

Tin tức mới nhất về Apple Watch

Apple Watch có thể phát hiện sớm bệnh đái tháo đường

Một nghiên cứu mới đây cho thấy dữ liệu đồng hồ thông minh Apple Watch thu thập có thể phát hiện sớm bệnh đáo tháo đường.

Người dùng khốn đốn vì Apple Watch liên tục tái khởi động ngoài ý muốn

Thiết bị phổ biến mới nhất gặp rắc rối là Apple Watch. Đáng chú ý, sản phẩm đồng hồ thông minh (smartwatch) đang được dùng hỗ trợ y tế này đã bị trục trặc ngay tại các bệnh viện.

Gợi ý 7 món quà Giáng sinh để dành tặng cho người thân là những iFan chính hiệu

Muốn tặng quà cho người thân là fan Apple để gây bất ngờ cho họ trong mùa giáng sinh? Đây sẽ là những gợi ý không thể hợp lý hơn dành cho bạn!

Apple Watch cứu mạng người nhờ phát hiện nhịp tim bất thường

Scott Kilian bỏ ra hàng nghìn USD để kiểm tra sức khỏe nhưng không phát hiện ra vấn đề. Tuy nhiên, ông lại được cứu mạng nhờ một chiếc Apple Watch.

Apple giữ ngôi vương thị trường thiết bị đeo thông minh

Theo Canalys, Apple lại một lần nữa đứng đầu thị trường thiết bị đeo thông minh trong quý vừa qua.

Apple vượt mặt Xiaomi, chiếm top 1 thị trường smartwatch

Sau khi bị qua mặt bởi Xiaomi, Apple đã bứt phá và chiếm trở lại vị trí đầu bảng trên thị trường smartwatch và wearable.

Apple Watch giúp chủ nhân thoát khỏi hàm cá mập

Một vận động viên lướt sóng của Mỹ đã phải dùng tới chiếc đồng hồ thông minh mới nhất của Apple để gọi trợ giúp khi bị cá mập bao vây.

Loạt sản phẩm Apple mang 'tai thỏ' giống iPhone X

Sẽ ra sao nếu thiết kế màn hình của iPhone X được áp dụng lên các dòng sản phẩm khác của Apple?

Tính năng hay nhất của Apple Watch 3 vô dụng ở Trung Quốc

Tính năng dữ liệu di động, hay còn gọi là LTE, của Apple Watch 3 sẽ không thể sử dụng tại Trung Quốc. Nguyên nhân chính của việc này là do chưa có quy định cụ thể về eSim.

Apple Watch 3 bất ngờ bị mất kết nối thoại, Internet ở TQ

Chỉ vài ngày sau khi mở bán, các máy Apple Watch Series 3 lưu hành ở Trung Quốc đã bất ngờ bị cắt tính năng gọi điện và kết nối mạng mới bổ sung.

Thoát chết nhờ Apple Watch

Một nam giới người Mỹ vừa may mắn thoát chết nhờ chiếc đồng hồ thông minh Apple Watch vẫn đeo ở cổ tay suốt 2 năm qua.

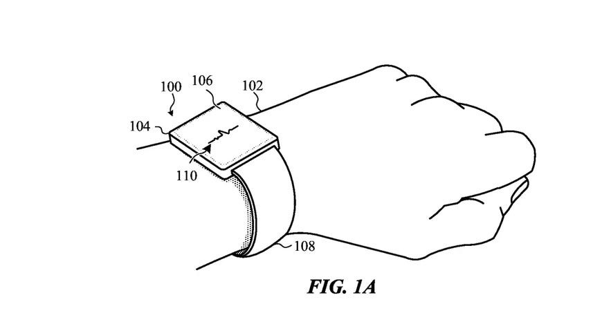
Apple Watch tương lai có thể dùng dây tự động điều chỉnh?

Apple vừa được cấp một bằng sáng chế mới về nhiều loại dây đeo tự động điều chỉnh khác nhau cho đồng hồ thông minh của hãng (Apple Watch). 

Apple thú nhận lỗi kết nối mạng ở Apple Watch 3

Mặc dù Apple Watch 3 chưa chính thức lên kệ, nhưng Apple đã phát đi một tuyên bố đề cập tới lỗi kết nối mạng đang tồn tại ở mẫu đồng hồ thông minh mới nhất này.

Người dùng thích thú với phiên bản có SIM của Apple Watch

Mẫu Apple Watch thế hệ mới dự kiến sẽ thổi một luồng gió mạnh vào thị trường smartwatch năm nay.

Vì sao mua hàng gắn mác Táo bao giờ cũng đắt? Vì bạn đang mua những giá trị "vô hình"

Tại sao lại bỏ ra cả đống tiền để mua những chiếc AirPods có chất lượng âm thanh chỉ ngang ngửa EarPods được bán kèm iPhone? Tại sao lại mua máy Mac giá cao cấu hình yếu? Tại sao lại ủng hộ Apple Watch khi Android Wear đã tiên phong cho khái niệm smartwatch từ hơn 1 năm trước đó?

Đánh bại Rolex, Apple Watch có thực sự là đồng hồ phổ biến nhất trên thế giới như Tim Cook nói?

Dù là một dấu mốc đáng nhớ đối Apple Watch, nhưng cần đánh giá công bằng hơn về kỳ tích mà thiết bị này đạt được.

Thiết bị đeo Apple, Xiaomi bán chạy nhất thế giới

Thống kê mới nhất cho thấy, các thiết bị đeo của Apple và Xiaomi bán chạy nhất thế giới trong quý 2/2017.

Apple Watch 3 sẽ ra mắt cùng iPhone mới

Apple Watch 3 có thể không cần kết nối iPhone để nhận và thực hiện cuộc gọi.

Apple Watch 3 sẽ trình làng cùng iPhone 8 vào tháng 9

Apple có thể giới thiệu mẫu đồng hồ thông minh mới Apple Watch 3 cùng với iPhone 8 tại sự kiện quan trọng của hãng vào tháng 9 tới.

Xiaomi vượt mặt Apple và Fitbit trên thị trường thiết bị wearable

Người tiêu dùng có vẻ đang ưa chuộng những chiếc vòng thông minh Xiaomi hơn là mẫu đồng hồ thông minh Apple Watch.