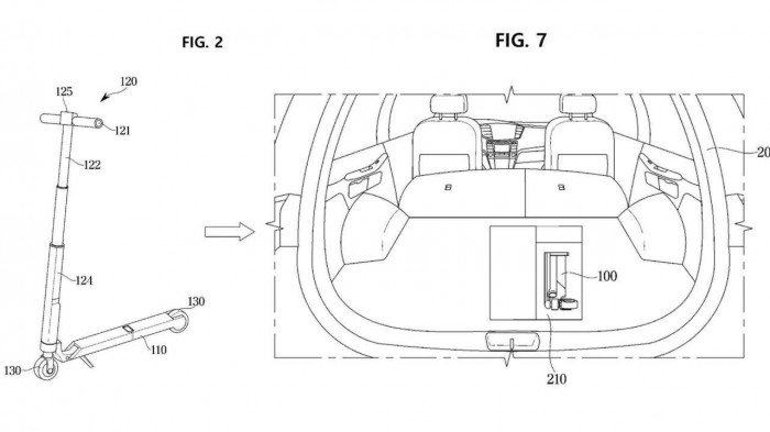
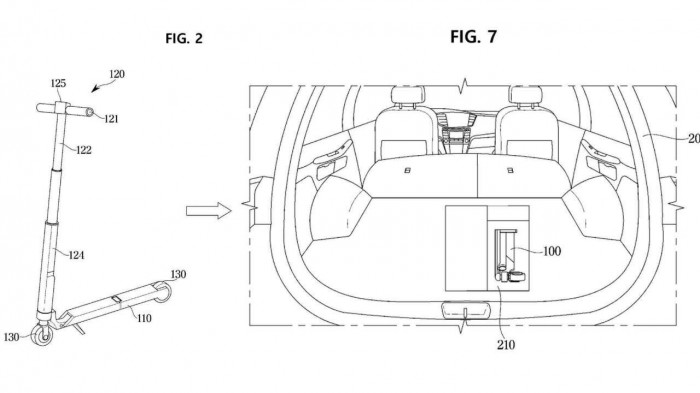
Như ta thấy trong các hình minh họa bằng sáng chế của Hyundai bên dưới, thiết bị di chuyển này khá nhỏ và có thể vừa vặn bên trong một cốp xe, ngay trên gầm sàn. Các bản vẽ thiết kế ban đầu thậm chí mô tả chiếc xe tay ga có thể gập lại, gắn bên trong cửa xe.

Mô tả vị trí đặt xe điện nhỏ trong cốp xe ô tô
Ngoài mô tả cơ chế gấp gọn của xe tay ga, các bản vẽ của bằng sáng chế cũng mô tả về cục pin đi kèm. Theo các bằng sáng chế, chiếc xe tay ga điện của Hyundai sẽ đi kèm với cơ chế sạc điện ngay trong cốp xe hơi.

Chiếc xe tương đối nhỏ so với kích cỡ một người lớn, có thể đặt cạnh cửa xe

Cơ cấu sạc điện được thiết kế ngay trong cốp xe ô tô
Thêm nữa, một âm thanh động cơ giả sẽ được tạo ra từ xe tay ga, để người đi đường nhận biết được sự hiện diện của nó. Bằng sáng chế không phải lúc nào cũng đạt đến giai đoạn sản xuất hàng loạt, nhưng nhiều người tán thành ý tưởng này.
Vẫn chưa rõ liệu phương tiện di chuyển cá nhân này sẽ trang bị kèm Hyundai Tucson hay chiếc xe bán tải Santa Cruz mới của hãng xe Hàn Quốc.
Theo Bao Giao thông
Bạn đang sở hữu một chiếc xe độc hay bản độ siêu đẹp? Hãy chia sẻ bài viết cảm nhận, hình ảnh về Ban Ô tô xe máy theo email: otoxemay@vietnamnet.vn. Các nội dung phù hợp sẽ được đăng tải. Xin cảm ơn!

Hitachi phát minh loại động cơ điện nằm gọn trong mâm bánh xe
Loại động cơ này truyền động trực tiếp đến bánh xe, giúp loại bỏ cơ cấu truyền động bằng trục như trên các dòng xe điện hiện hành.