Theo Canalys, Apple lại một lần nữa đứng đầu thị trường thiết bị đeo thông minh trong quý vừa qua.
![]() |
| Đồng hồ thông minh Apple Watch Series 3. (Nguồn: wsj.com) |
Apple đã bán được 3,9 triệu chiếc đồng hồ thông minh, đánh dấu mức tăng trưởng mạnh nhất trong năm 2017. Khoảng 800.000 chiếc là Apple Watch Series 3 với khả năng kết nối mạng dữ liệu di động LTE.
Các đối thủ cạnh tranh của Apple là Xiaomi và Fitbit, đã tụt lại phía sau trong quý 3, khi lần lượt bán được 3,6 triệu và 3,5 triệu thiết bị đeo.
Apple Watch Series 3 ban đầu có một số vấn đề kết nối LTE đã được khắc phục bằng bản cập nhật phần mềm vài tuần sau khi phát hành. Và cho đến nay, chiếc đồng hồ thông minh này đã trở thành động lực lớn nhất cho doanh thu của Apple.
Các nhà phân tích ban đầu đã dự đoán dòng sản phẩm chiến lược thứ hai của Apple sẽ trở nên mạnh mẽ hơn nhờ Watch Series 3, nhưng Apple đã không sản xuất đủ đồng hồ và sẵn sàng để đáp ứng nhu cầu, tương tự như vấn đề mà iPhone X phải đối mặt.

Đồng hồ thông minh định vị cho trẻ em rất dễ bị hack
Các chuyên gia cảnh báo, đồng hồ thông minh (smartwatch) tích hợp định vị, khả năng gọi điện,... dành cho trẻ em có các lỗ hổng bảo mật khiến chúng rất dễ bị hacker tấn công.

Apple Watch giúp chủ nhân thoát khỏi hàm cá mập
Một vận động viên lướt sóng của Mỹ đã phải dùng tới chiếc đồng hồ thông minh mới nhất của Apple để gọi trợ giúp khi bị cá mập bao vây.

Apple Watch 3 bất ngờ bị mất kết nối thoại, Internet ở TQ
Chỉ vài ngày sau khi mở bán, các máy Apple Watch Series 3 lưu hành ở Trung Quốc đã bất ngờ bị cắt tính năng gọi điện và kết nối mạng mới bổ sung.

Thoát chết nhờ Apple Watch
Một nam giới người Mỹ vừa may mắn thoát chết nhờ chiếc đồng hồ thông minh Apple Watch vẫn đeo ở cổ tay suốt 2 năm qua.

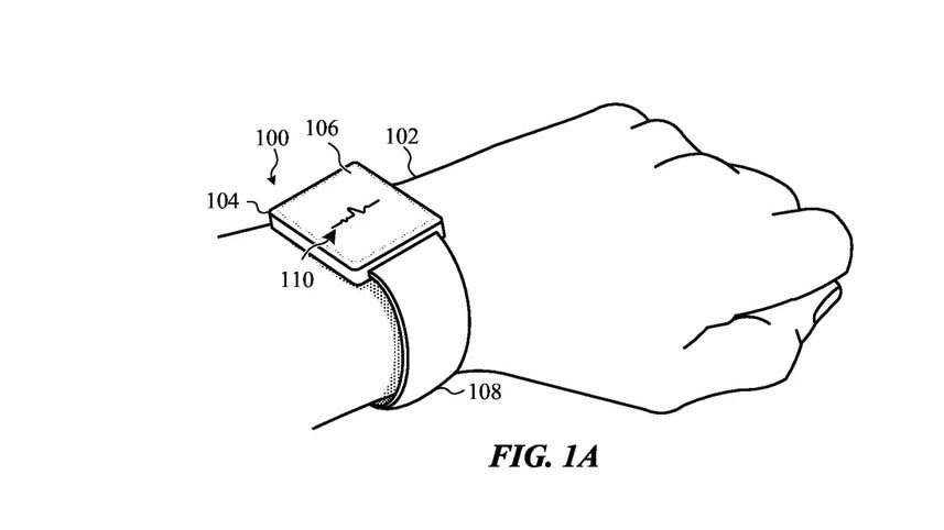
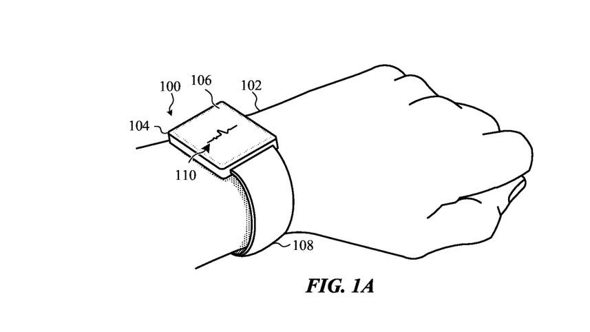
Apple Watch tương lai có thể dùng dây tự động điều chỉnh?
Apple vừa được cấp một bằng sáng chế mới về nhiều loại dây đeo tự động điều chỉnh khác nhau cho đồng hồ thông minh của hãng (Apple Watch).
Theo Vietnam+
